![]() |
||
![]() |
![]() |
|||||||||||||||||
![]() |
![]() |
![]() |
![]() |
![]() |
![]() |
![]() |
![]() |
![]() |
![]() |
![]() |
![]() |
![]() |
![]() |
![]() |
![]() |
![]() |
![]() |
![]() |
Zubehör für Gitterroste |
![]() |
![]() |
![]() |
Halteklammer |
![]() |
![]() |
![]() |
Scharnierband |
![]() |
![]() |
![]() |
Plättchen mit Bohrung |
![]() |
![]() |
![]() |
4-Kant Verschluss
|
![]() |
Industriezubehör |
![]() |
![]() |
![]() |
Standard-BefestigungsmaterialB 133 T bzw. B 133 K |
![]() |
![]() |
![]() |
BefestigungsmaterialB 10 für Pressroste mit Querstababteilung 11.11 mm |
![]() |
![]() |
![]() |
Doppelklemmen-BefestigungsmaterialB 933 T bzw. B 933 K |
![]() |
![]() |
![]() |
Befestigungsmaterialfür Pressroste mit Arretierung |
![]() |
![]() |
![]() |
Hakenschrauben-BefestigungsmaterialB 733 K bzw. B 733 T |
![]() |
![]() |
![]() |
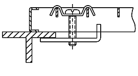
Befestigungsmaterialmit selbstschneidender Schraube |
![]() |
![]() |
![]() |
![]() |
||
![]() |
||
![]() |
Rieder & Co. AG |
![]() |
![]() |